封面新闻记者刘虎 4月28日,2025年四川省学生(青少年)田径冠军赛在遂宁安居区完美收官,为期四天的比赛吸引了全省21....
05-1021世纪经济报道记者张伟泽香港报道易云达 5月22日,香港投资公司行政总裁陈家齐在国际耐心资本论坛上表示,目前香港投资公司已经投资了超过100个项目,其中人工智....
新华财经北京5月22日电 记者22日从国家开发银行获悉,自去年3月7日国务院印发《推动大规模设备更新和消费品以旧换新行动方案》以来长宏策略,国开行积极开展项目对....
5月21日易云达配资,香港中文大学(深圳)礼文堂内,一场深圳市龙岗区人工智能与机器人发展大会召开。 会上,深圳市龙岗区委书记余锡权宣布实施All in AI战略....
新华财经北京5月22日电(记者余蕊袁波雷肖霄)《中华人民共和国民营经济促进法》是第一部专门关于民营经济发展的基础性法律,在我国民营经济发展历程中具有里程碑意义。....
华恒生物晚间公告,公司计划投资3.2亿元建设“人工智能精准发酵及蛋白质工程共享示范项目”。项目预计建设期为36个月星火牛,资金来源主要为自有或自筹资金。项目建设....
据证券时报,5月19日,贵州茅台正式召开2024年度股东大会创利配资,记者了解到,此次股东大会为股东带来了现场福利,贵州茅台股东可以在茅台大酒店以原价购买珍品茅....
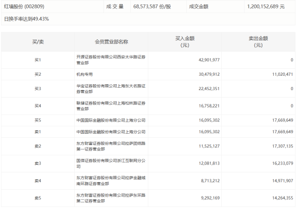
中欣氟材今日涨6.03%,成交额24.27亿元赢在策略赢在策略赢在策略,换手率36.55%,盘后龙虎榜数据显示,二机构专用席位净买入6308.44万元,二机构专....
吉林化纤晚间公告信钰配资信钰配资,股东上海方大投资管理有限责任公司于2025年5月16日通过深圳证券交易所通过集中竞价交易方式减持2458.86万股信钰配资,占....
相关视频 00'37'' Y50论坛大放送丨创业就是从封闭的象牙塔走向真实的战场 26 昨天 18:01 00'52'&....
当地时间5月10日芝麻财富,印度外交秘书唐勇胜证实,印巴已同意停火。 唐勇胜表示,巴基斯坦军事行动总指挥于10日15时35分致电印度军事行动总指挥。双方达成一致....
牛来了配资文章加载中,请稍后...
谁的童年里没藏着一只电子宠物?90后的拓麻歌子要按时喂食铲屎,00后的QQ宠物在电脑桌面跳来跳去,10后的旅行青蛙悄咪咪寄回远方明信片。 当大模型浪潮袭来,一开....
狗狗的不良行为背后,往往隐藏着它们无法言说的需求。一次专业的干预,可能改变你和爱犬的相处方式。 “我家狗狗一见陌生人就叫个不停,怎么办?”“狗狗总是乱咬家具,打....
近日,中央农办、农业农村部重申“两个不允许”:城镇居民不得购买农村农房和宅基地,退休干部不得回村占地建房。 有人担心这会让农村房产“贬值”;有人认为就该这么做,....
电视剧《红舞鞋》才开机一个多月,就已经连续翻车,负面新闻缠身!先是传出克扣大学生群演工资,紧接着又在10月22日爆出更令人心痛的悲剧——剧组车辆在校园内超速行驶....
零售股12月10日早盘表现强势,早盘收盘时永辉超市、中央商场、美凯龙、茂业商业、东百集团、汇嘉时代、步步高纷纷涨停;中百集团、孩子王、天虹股份、国芳集团也明显上....
因连续两年虚增财务数据,牛股嘉澳环保将被“ST”。 嘉澳环保晚间发布公告称,公司今日收到中国证券监督管理委员会浙江监管局下发的《行政处罚事先告知书》,公司股票将....
SpaceX正推进首次公开募股计划,拟募资远超300亿美元。该公司目标整体估值约1.5万亿美元,并计划最快于2026年中后期上市。SpaceX预计将利用部分IP....
12月10日,中金公司研报表示,今年3月以来,中国钨精矿价格自14.2万元/吨上涨至9月10日28.8万元/吨高位,随后回落至26.7万元附近企稳。10月中旬以....
《孤山独影》里面有很多的成就,其中就包括灰熊女成就,如果玩家想要解锁这个成就则需要在爬山的过程中注意熊洞的位置,熊如果发起攻击,玩家则需要撑过熊的袭击。 孤山独....
《千禧梦》中的天气调节器阴天是游戏里非常重要的特殊道具,不过很多玩家都不太清楚天气调节器阴天怎么获得,其实想要获得天气调节器阴天可以在离开长冬市后,依次经过奶奶....
(原标题:新西兰联储降息箭在弦上!特朗普关税加剧经济阴云红腾网配资,纽元命悬一线) 汇通财经APP讯——新西兰联储(RBNZ)预计将于周三(4月9日)货币政策会....
封面新闻记者刘虎 4月28日,2025年四川省学生(青少年)田径冠军赛在遂宁安居区完美收官,为期四天的比赛吸引了全省21个市(州)的193支代表队、1300余名....
景顺长城基金管理有限公司关于董事长离任及总经理代行董事长职务的公告公告送出日期:2025年5月30日基金管理人名称景顺长城基金管理有限公司公告依据《公开募集证券....
鲁网4月21日讯近日思考资本,泰安市泰山投资有限公司(以下简称“泰山投资”)正式对外发布公告,宣布将赎回其发行的“泰安市泰山投资有限公司2022年度第一期中期票....
在当前经济逐步复苏、消费市场亟待进一步激活的大环境下中金辰大,电商行业一年一度的618购物狂欢节(下称618大促)即将步入正式期,成为拉动消费、促进经济增长的重....
因一个坏习惯e路配资 引火烧家 快将这篇推文 转发到“相亲相爱一家人” 近日 云南省昆明市官渡区 某小区3栋一住房突发火灾 接警后 消防救援人员立即出动 外围火....
6月28日至30日擒牛宝,第四届成渝地区双城经济圈基础教育协作会暨重庆市江北区玉带山小学第八届学术年会举行,来自成渝两地的教育专家、一线教师,围绕“AI赋能·心....
电视剧《红舞鞋》才开机一个多月,就已经连续翻车,负面新闻缠身!先是传出克扣大学生群演工资,紧接着又在10月22日爆出更令人心痛的悲剧——剧组车辆在校园内超速行驶....
粤友配资粤友配资粤友配资 湖北日报讯(记者刘洁、通讯员刘诗雨、王磊)8月20日,从武汉市交通运输局获悉,8月22日零时起,武汉南四环等高速路段“点对点”通行费大....
319策略 云南师范大学继续教育学院依托人工智能助学系统开展教师培训。资料图片 宁夏银川市庆兴区中小学教师暑期参加数字化教学培训。资料图片 智能时代,面对教师角....
牛来了配资🥇证券配资网时刻关注市场动态,是配资炒股成功的关键。我们的平台实时更新市场信息,让您对市场变化了如指掌。